U盘重装系统是现在非常受欢迎的装机方法,用U盘进入PE系统需要设置U盘启动,大多数用户不知道怎么设置U盘启动,小编现在给大家介绍设置U盘启动的方法。
1、快捷键快速U盘启动:
重启电脑在开机是不停按快捷键,在出现的菜单选U盘启动。有些电脑开机的时候在电脑屏幕下方会显示哪个键可以用来设置启动选项,有些电脑不显示,那就需要进BIOS将BOOT MENU 功能开启。还有一些电脑是没有热键选择启动项功能的,对于这种电脑只能通过下面的第二种方法来设置了。
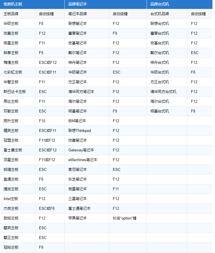
常见的牌子快捷键:
![1609809325532303.png T2ABWR12_J2%U@G8{@7K0]W.png](/d/file/jiaocheng/2021/01/1cafc4048db9eb014a0eecebcfad581f.png)
2、进BIOS里面设置U盘启动:

笔记本方面,除特殊的机型,一般是按照以下的方法:
Thinkpad/IBM(冷开机按F1,部分新型号可以在重新启动时启动按F1)
HP(启动和重新启动时按F2)
SONY(启动和重新启动时按F2)
Dell(启动和重新启动时按F2)
Acer(启动和重新启动时按F2)
Toshiba(冷开机时按ESC然后按F1)
Compaq(开机到右上角出现闪动光标时按F10,或者开机时按F10)
Fujitsu(启动和重新启动时按F2)
大多数国产和台湾品牌(启动和重新启动时按F2)台式机进入BIOS开机时候请多按del键,
就可以进入BIOS 这些东西和主板厂商有关的,一般都是主板决定的。
那么以上就是u盘启动设置为第一启动项方法的全部内容了,希望对你有所帮助!

